
MIL-C-18312/2D
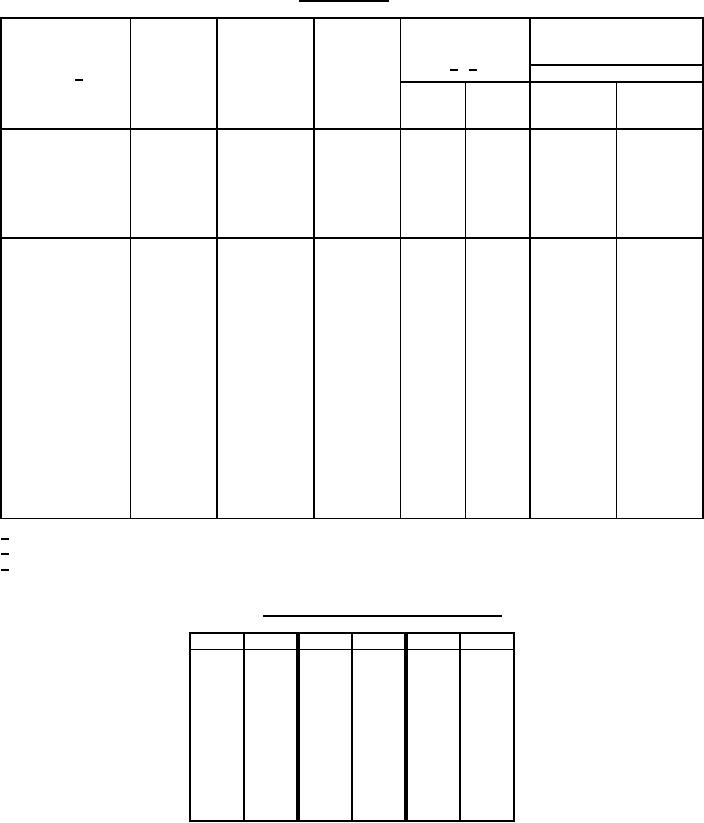
TABLE I. Characteristics - Continued.
Superseded
Dimensions,
MIL-C-18312/1A and
nominal (inches)
DC
Capacitance
2/ 3/
rated
Circuit
value
PIN 1/
Capacitance tolerance
voltage
diagram
(µF)
D
(volts)
L
±10%
±20%
+.031
±.062
-.051
CH09A3NE474-
400
0.47
3
1.562
.562
0479
0480
CH09A1NE105-
400
1.0
1
1.875
.750
0481
0482
CH09A3NE105-
400
1.0
3
1.812
.750
0483
0484
CH09A1NE225-
400
2.2
1
1.875
1.000
0485
0486
CH09A3NE225-
400
2.2
3
1.812
1.000
0487
0488
CH09A1NE335-
400
3.3
1
2.625
1.000
0489
0490
CH09A3NE335-
400
3.3
3
2.562
1.000
0491
0492
CH09A1NF103-
600
0.01
1
.812
.312
0493
0494
CH09A3NF103-
600
0.01
3
.750
.312
0495
0496
CH09A1NF223-
600
0.022
1
.812
.312
0497
0498
CH09A3NE155-
400
0.022
3
.750
.312
0499
0500
CH09A1NF473-
600
0.047
1
1.125
.400
0501
0502
CH09A3NF473-
600
0.047
3
1.062
.400
0503
0504
CH09A1NF104-
600
0.10
1
1.125
.500
0505
0506
CH09A3NF104-
600
0.10
3
1.062
.500
0507
0508
CH09A1NF224-
600
0.22
1
1.375
.562
0509
0510
CH09A3NF224-
600
0.22
3
1.312
.562
0511
0512
CH09A1NF474-
600
0.47
1
1.625
.670
0513
0514
CH09A3NF474-
600
0.47
3
1.562
.670
0515
0516
CH09A1NF105-
600
1.0
1
1.844
1.000
0517
0518
CH09A3NF105-
600
1.0
3
1.781
1.000
0519
0520
CH09A1NF155-
600
1.5
1
1.875
1.000
0521
0522
CH09A3NF155-
600
1.5
3
1.812
1.000
0523
0524
CH09A1NF225-
600
2.2
1
2.625
1.000
0525
0526
CH09A3NF225-
600
2.2
3
2.562
1.000
0527
0528
1/ Complete PIN will include an additional symbol for capacitance tolerance.
2/ Dimensions shown are for bare case. (see ).
3/ See table II for metric equivalents.
TABLE II. Millimeter equivalents of decimal inches.
Inches
mm
Inches
mm
Inches
mm
.031
0.79
.688
17.48
1.562
39.67
.051
1.30
.750
19.05
1.625
41.28
.062
1.57
.781
19.84
1.781
45.24
.175
4.45
.812
20.62
1.812
46.02
.195
4.95
.844
21.44
1.844
46.84
.235
5.97
.874
22.20
1.875
47.63
.312
7.92
1.000
25.40
2.312
58.72
.400
10.16
1.062
26.97
2.375
60.33
.500
12.70
1.125
28.58
2.562
65.07
.562
14.27
1.312
33.32
2.625
66.68
.670
17.02
1.375
34.93
4
For Parts Inquires submit RFQ to Parts Hangar, Inc.
© Copyright 2015 Integrated Publishing, Inc.
A Service Disabled Veteran Owned Small Business