emilspec
An Integrated Publishing, Inc. Site
eMilSpec
An Integrated Publishing Website
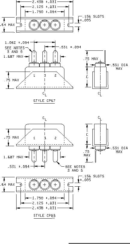
MIL-C-25-6 Capacitors, Fixed, Paper Or Plastic Dielectric, Direct Current \(Hermetically Sealed In Metal Cases\), Styles Cp67 And Cp69
Pages
1
-
2
-
3
-
4
-
5
MIL-C-25/6E
FIGURE
1. Styles CP67 and CP69 capacitors.
3