
INCH-POUND
MIL-PRF-123/16C
21 April 2014
SUPERSEDING
MIL-PRF-123/16B
26 April 2007
PERFORMANCE SPECIFICATION SHEET
CAPACITORS, FIXED, CERAMIC DIELECTRIC,
(TEMPERATURE STABLE AND GENERAL PURPOSE),
HIGH RELIABILITY, LEADED,
STYLE CKS22
This specification sheet is approved for use by all Departments
and Agencies of the Department of Defense.
The requirements for acquiring the product described herein
shall consist of this specification sheet and MIL-PRF-123.
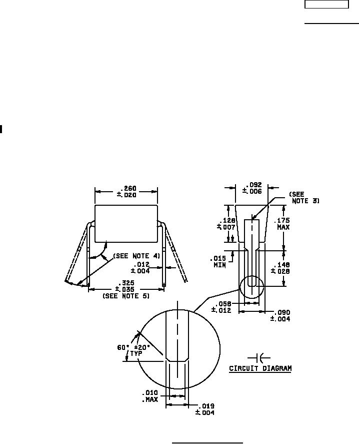
FIGURE 1. Style CKS22 capacitors.
AMSC N/A
FSC 5910