
INCH-POUND
MIL-PRF-39006/19A
6 August 2001
SUPERSEDING
MIL-C-39006/19
28 August 1970
MILITARY SPECIFICATION SHEET
CAPACITORS, FIXED, ELECTROLYTIC (NONSOLID ELECTROLYTE), TANTALUM,
(POLARIZED, SINTERED SLUG), 85°C (VOLTAGE DERATED TO 125°C),
ESTABLISHED RELIABILITY,
STYLE CLR14
This specification is approved for use by all Departments
and Agencies of the Department of Defense.
The requirements for acquiring the product described herein shall
consist of this specification sheet and MIL-PRF-39006.
INACTIVE FOR NEW DESIGN AS OF
23 JUNE 1981.
FOR NEW DESIGN USE MIL-PRF-39006/22.
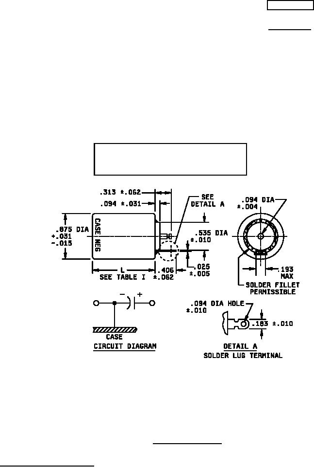
Inches
mm
Inches
mm
.004
0.10
.094
2.39
.005
0.13
.183
4.65
.010
0.25
.193
4.90
.015
0.38
.313
7.95
NOTES:
.025
0.64
.406
10.31
1. Dimensions are in inches.
.031
0.79
.535
13.59
2. Metric equivalents are given for general information only.
.062
1.57
.875
22.23
FIGURE 1. Style CLR14 capacitors.
AMSC N/A
1 of 5
FSC 5910
DISTRIBUTION STATEMENT A. Approved for public release; distribution is unlimited
For Parts Inquires submit RFQ to Parts Hangar, Inc.
© Copyright 2015 Integrated Publishing, Inc.
A Service Disabled Veteran Owned Small Business