
INCH-POUND
MIL-PRF-39006/21C
14 April 2010
SUPERSEDING
MIL-PRF-39006/21B
9 December 2004
PERFORMANCE SPECIFICATION SHEET
CAPACITORS, FIXED, ELECTROLYTIC (NONSOLID ELECTROLYTE), TANTALUM,
(POLARIZED, SINTERED SLUG) (EXTENDED RANGE), 85°C (VOLTAGE DERATED TO 125°C),
ESTABLISHED RELIABILITY,
STYLE CLR69
This specification is approved for use by all Depart-
ments and Agencies of the Department of Defense.
The requirements for acquiring the product described herein
shall consist of this document and MIL-PRF-39006.
INACTIVE FOR NEW DESIGN AFTER
23 JUNE 1981. FOR NEW DESIGN,
USE MIL-PRF-39006/25.
NOTE: The above entry consolidates all previous specification action concerning inactivation. Failure
rate level "L" was made inactive for new design on 27 May 1976. All other failure rate levels
were inactivated by Notice 1 and 2 dated 9 October 1981 and 11 June 1982, respectively.
+
+
+
-
+
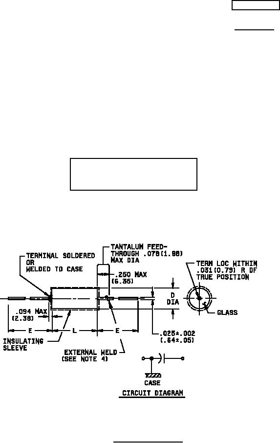
FIGURE 1. Style CLR69 capacitors.
AMSC N/A
FSC 5910
For Parts Inquires submit RFQ to Parts Hangar, Inc.
© Copyright 2015 Integrated Publishing, Inc.
A Service Disabled Veteran Owned Small Business