
INCH-POUND
MIL-PRF-39006/25E
7 December 2012
SUPERSEDING
MIL-PRF-39006/25D
24 October 2006
PERFORMANCE SPECIFICATION SHEET
CAPACITORS, FIXED, ELECTROLYTIC (NONSOLID ELECTROLYTE),
TANTALUM, (POLARIZED, SINTERED SLUG), (EXTENDED
RANGE) 85°C (VOLTAGE DERATED TO 125°C),
ESTABLISHED RELIABILITY, STYLE CLR81
This specification sheet is approved for use by all Departments
and Agencies of the Department of Defense.
The requirements for acquiring the product described herein
shall consist of this specification sheet and MIL-PRF-39006.
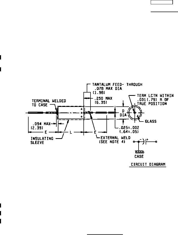
NOTES:
1. Dimensions are in inches.
2. Metric equivalents are in parentheses.
3. Metric equivalents are given for general information only.
4. The weld shall not be enclosed in the end seal.
5. CLR81 capacitors are replacements for the inactive CLR69s (MIL-PRF-39006/21), silver cased wet slug
capacitors.
6. CLR81 capacitors have higher capacitance values than CLR79s (MIL-PRF-39006/22) of the same case size
and voltage rating.
7. Low ESR versions of CLR81s may be found in MIL-PRF-39006/31 (CLR91).
FIGURE 1. Style CLR81 capacitors.
AMSC N/A
FSC 5910
For Parts Inquires submit RFQ to Parts Hangar, Inc.
© Copyright 2015 Integrated Publishing, Inc.
A Service Disabled Veteran Owned Small Business