
INCH-POUND
MIL-PRF-39014/2L
27 April 2004
SUPERSEDING
MIL-PRF-39014/2K
16 September 1997
PERFORMANCE SPECIFICATION SHEET
CAPACITORS, FIXED, CERAMIC DIELECTRIC
(GENERAL PURPOSE),
ESTABLISHED RELIABILITY AND NONESTABLISHED RELIABILITY,
STYLE CKR06, NATO TYPE DESIGNATION NCC62
This specification is approved for use by all Departments
and Agencies of the Department of Defense.
The requirements for acquiring the product described herein shall
consist of this specification and MIL-PRF-39014.
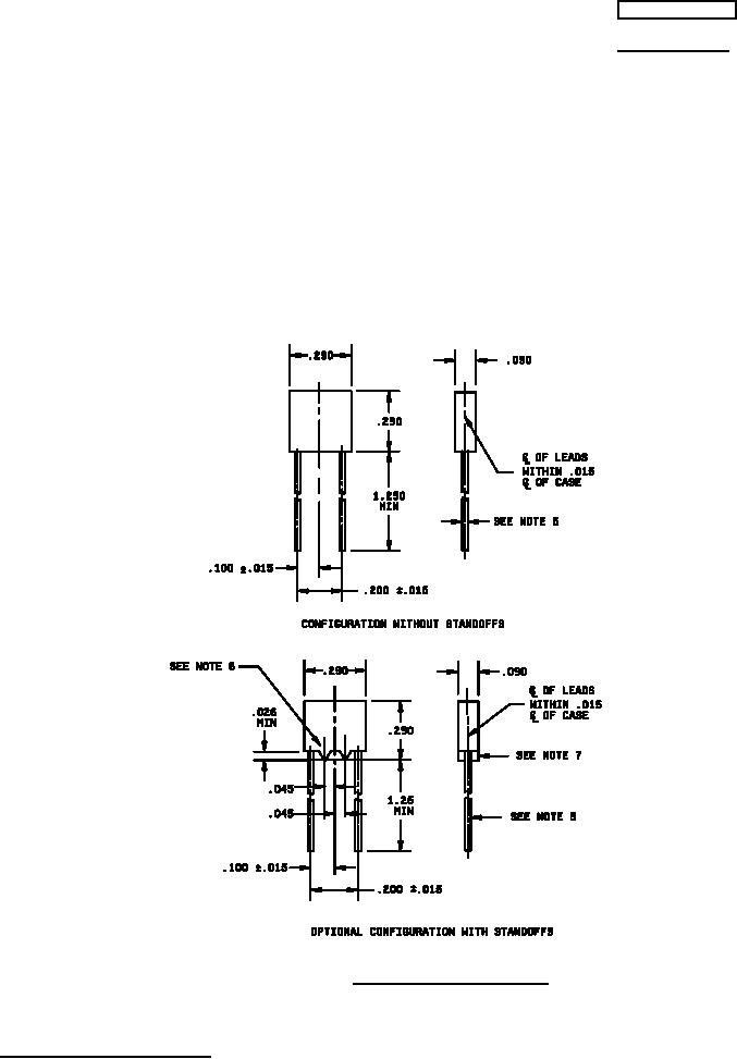
FIGURE 1. Dimensions and configuration.
AMSC N/A
FSC 5910
DISTRIBUTION STATEMENT A. Approved for public release; distribution is unlimited.