
INCH-POUND
MIL-PRF-55365/2E
3 July 1997
SUPERSEDING
MIL-C-55365/2D
23 August 1990
PERFORMANCE SPECIFICATION SHEET
CAPACITORS, CHIP, FIXED, TANTALUM, ESTABLISHED RELIABILITY,
STYLES CWR03 AND CWR04
This specification is approved for use by all Departments and
Agencies of the Department of Defense.
The requirements for acquiring the product described herein shall consist of this
specification and MIL-PRF-55365.
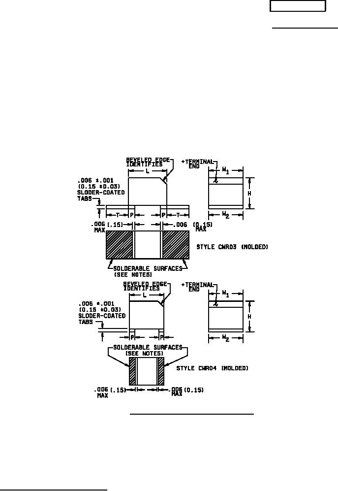
FIGURE 1. Style CWR03 and CWR04 capacitors.
AMSC N/A
1 of 6
FSC 5910
DISTRIBUTION STATEMENT A. Approved for public release; distribution is unlimited.