
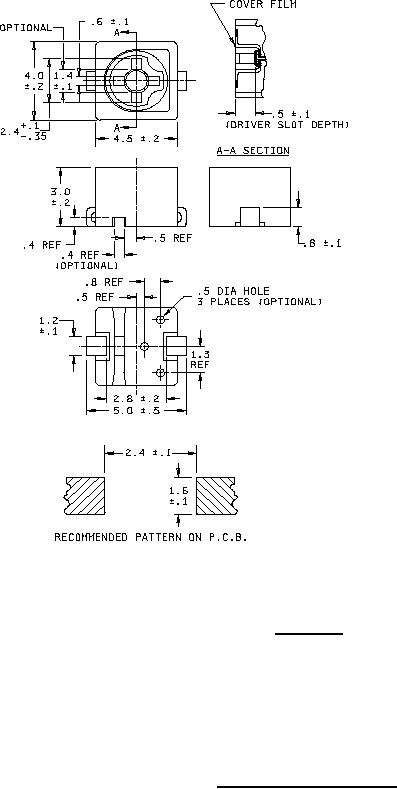
MIL-PRF-81/12A
mm
Inches
0.10
.004
0.15
.005
0.20
.008
0.35
.014
0.40
.016
0.50
.020
0.60
.024
0.80
.032
1.20
.047
1.30
.051
1.40
.055
1.60
.063
2.40
.095
2.80
.110
3.00
.118
4.00
.158
4.50
.177
5.00
.197
Style CV51
NOTES:
1. Dimensions are in millimeters.
2. Inch equivalents are given for general information only.
3. Unless otherwise specified, tolerance is ±0.15 (.005 inch).
4. This unit is supplied with a silicone membrane covering the adjustment opening which allows washing prior to
tuning without risk of contamination.
FIGURE 1. Dimensions and configuration - Continued.
2