
INCH POUND
MIL-PRF-14409/14K
11 June 2010
SUPERSEDING
MIL-PRF-14409/14J
25 July 2001
PERFORMANCE SPECIFICATION SHEET
CAPACITORS, VARIABLE (PISTON TYPE,
TUBULAR TRIMMER), STYLES PC27, PC28, PC29
This specification sheet is approved for use by all Departments
and Agencies of the Department of Defense.
The requirements for acquiring the capacitors described herein shall consist
of this specification sheet and MIL-PRF-14409.
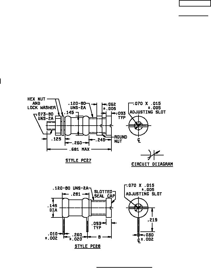
FIGURE 1. Dimensions and configuration.
AMSC N/A
FSC 5910
For Parts Inquires submit RFQ to Parts Hangar, Inc.
© Copyright 2015 Integrated Publishing, Inc.
A Service Disabled Veteran Owned Small Business