
MIL-PRF-55514/8G
Style CFR16
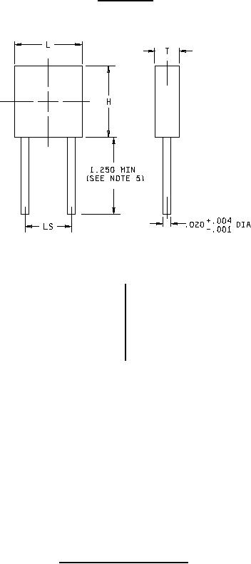
Inches
mm
Inches
mm
2.29
.090
0.03
.001
2.54
.100
0.10
.004
4.83
.190
0.38
.015
5.08
.200
0.51
.020
31.75
1.250
0.64
.025
1.14
.045
NOTES:
1. Dimensions are in inches.
2. Metric equivalents are given for general information.
3. Unless otherwise specified, tolerance is ±.010 inch (0.25 mm).
4. For flush mounting .078 inch (1.98 mm) printed-circuit hole diameter is required to clear shoulder.
5. Lead length may be a minimum of one inch (25.4 mm) long for use in tape and reel packaging, when specified
in the ordering data.
FIGURE 1. Configuration and dimensions - Continued.
2